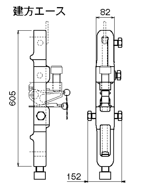
建方エース

建方エース

特徴

●柱単独で目違い・レベル・倒れ調節が可能です。
●計測装置の組み合わせにより高精度の施工が容易です。
●建て入れ時に柱脚に吊るすことが出来るため、事前の取付が不要です。

商品仕様

カタログのダウンロードはこちら

総合カタログのPDFデータ(102MB)

このページの製品のPDFデータ(478KB)

    必須会社名

    任意ご担当・部署名

    必須お名前

    必須フリガナ

    任意電話番号

    必須メールアドレス

    必須メールアドレス

    任意郵便番号

    任意住所

    必須お問い合わせ内容

    取扱製品
    仮囲い・ゲート製品
    ネット・親綱・支柱他
    鉄骨仮設製品
    外部足場・シート製品
    内部足場製品
    その他製品
    PAGE TOP