腹起こし支柱

腹起こし支柱

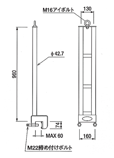
特徴

●H鋼腹起しに取り付け出来る支柱

商品仕様

●最大はさみ巾は60mmまで
●自重:9kg
●使用荷重:85kg

注意事項

・締付ボルトの締付トルクは1,500kgf.cm以上で使用のこと。
・支柱の設置間隔は9m以下とする。
・締付部に当て板などを挟まないでください。
 また、締付け箇所にはキズが残りますのでご了承してご使用ください。
・関係法令に従って安全に設置、使用してください。
・親綱は平行方向に使用してください。

腹起こし支柱(キョーワ製腹起し支柱)

特徴

●最大使用質量100kgに対応しております。
●一般的な親綱支柱より取付位置が350mm高いため、垂下量が有利になります。
●ワイヤロックSを使用することでさらに垂下量を低減できます。
(一般的な親綱支柱システムと比較し1m低減されます)
●梁の外側に取り付ける外付け方式を採用しており歩行の邪魔になりません。
●支柱本体と分離式のため軽量で簡単に取り付けができます。

商品仕様

支柱キャッチホルダー キャッチホルダー用支柱
材質
質量(kg) 2.5 2.6 8.8
対応する山留鋼の穴ピッチ(mm) 75、150 100

使用基準・使用方法

注意事項

・1スパン1人で使用してください。        
・本製品は平行専用です。
・支柱のスパンは10m以下で使用してください。  
・親綱を複数本取付ての使用はしないでください。
・当社指定専用支柱同士で使用してください。

カタログのダウンロードはこちら

総合カタログのPDFデータ(102MB)

こちらの製品のPDFデータ(1.1MB)

    必須会社名

    任意ご担当・部署名

    必須お名前

    必須フリガナ

    任意電話番号

    必須メールアドレス

    必須メールアドレス

    任意郵便番号

    任意住所

    必須お問い合わせ内容

    取扱製品
    仮囲い・ゲート製品
    ネット・親綱・支柱他
    鉄骨仮設製品
    外部足場・シート製品
    内部足場製品
    その他製品
    PAGE TOP